ZZYP-16C鑄鋼自力式壓力調節閥
ZZYP型自力式壓力調節閥(簡稱調壓閥)是利用被調介質自身能量實現自動調節的執行器產品。
該產品最大特點,能在無電、無氣的場所工作,是一種節能產品。壓力設定值可在運行中隨意調整。常規產品采用快開流量特性,亦可采用線性、等百分比流量特性。動作靈敏,減壓比一般情況下最大可達10,最小為1.25,廣泛應用于石油、化工、電力、冶金、食品、輕紡、居民樓群等各種工業設備中的氣體、液體、蒸汽等介質低壓差減壓、穩壓(用于控制閥后壓力),或泄壓、穩壓(用于控制閥前壓力)的自動控制。
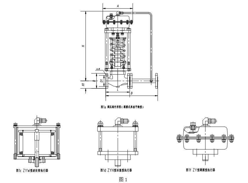
調壓閥主要由執行機構、調節機構、導壓管與接管等四部分組成。執行機構有薄膜式(用于被調壓力≤0.6Mpa)、活塞式(用于被調壓力>0.6Mpa)、波紋管式(用于高溫或腐蝕性流體),調節機構為單座(波紋管平衡)型式(控制壓力≤1.0MPa)。
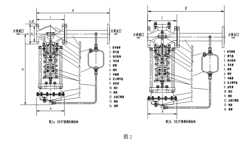
圖2a結構為單座式,閥后壓力控制,初始狀態常開。原理:介質由箭頭方向進入閥體,經閥芯、閥座節流后輸出。另一路經冷凝器(介質為蒸汽時使用)冷卻后,引入執行機構膜室,其壓力作用在膜片有效面積上產生一個推力,帶動閥桿、閥芯位移,使節流口面積發生變化,達到減壓穩壓目的。若閥后壓力高于設定值,則作用在膜片上的力增大,壓縮彈簧,帶動閥芯位移,減小調壓閥開度,直至閥后壓力下降到設定值。同理,若閥后壓力低于設定值,由于彈簧反作用力,帶動閥芯位移,增大調壓閥開度,直至閥后壓力上升到設定值
圖2b結構為單座式,閥前壓力控制,初始狀態常閉。原理:介質由箭頭方向進入閥體,另一路經冷凝器(介質為蒸汽時使用)冷卻后,引入執行機構膜室,其壓力作用在膜片有效面積上產生一個推力,帶動閥桿、閥芯位移,使閥門開啟度增大,若閥前壓力高于設定值,則作用在膜片上的力增大,壓縮彈簧,帶動閥芯位移,增大調壓閥開度,直至閥前壓力下降到設定值。同理,若閥前壓力低于設定值,由于彈簧反作用力,帶動閥芯位移,減小調壓閥開度,直至閥前壓力上升到設定值。

1、主要參數、性能指標
公稱通徑DN(mm) | 20 | 25 | 32 | 40 | 50 | 65 | 80 | 100 | 125 | 150 | 200 | 250 | 300 |
額定流量系數(KV) | 7 | 11 | 20 | 30 | 48 | 75 | 120 | 190 | 300 | 480 | 760 | 1210 | 1936 |
額定行程(mm) | 8 | 10 | 14 | 20 | 25 | 40 | 50 | 60 | 70 | ||||
公稱壓力PN(Mpa) | 1.6(150LB) 4.0 (300LB) | ||||||||||||
壓力分段范圍(Kpa) | 15~50、40~80、60~100、80~140、120~180、160~220、200~260、240~300、280~350、330~400、380~450、430~500、480~560、 540~620、600~700、680~800、780~900、880~1000 | ||||||||||||
流量特性 | 快開 | ||||||||||||
調節精度(%) | ±5 | ||||||||||||
使用溫度(℃) | ≤350 | ||||||||||||
允許泄漏量(L/h) | 10-4X閥額定容量 | ||||||||||||
減壓比(閥后壓力/閥前壓力) | 最大10、最小1.25 | ||||||||||||
2、主要零件材料
零件名稱 | 材料 |
閥體 | ZG230~450、ZG1Cr18Ni9Ti、ZG0Cr18Ni12Mo2Ti |
閥蓋 | 35#、1Cr18Ni9Ti、0Cr18Ni12Mo2Ti |
閥芯 | 1Cr18Ni9Ti、0Cr18Ni12Mo2Ti |
閥座 | 1Cr18Ni9Ti、0Cr18Ni12Mo2Ti |
閥桿 | 1Cr18Ni9Ti、0Cr18Ni12Mo2Ti |
橡膠膜片 | 丁腈橡膠、耐油橡膠、氟橡膠、氯丁橡膠 |
填料 | 聚四氟乙烯、柔性石墨 |
3、外形尺寸及重量
公稱通徑DN(mm) | 15 | 20 | 25 | 32 | 40 | 50 | 65 | 80 | 100 | 125 | 150 | 200 | 250 | 300 | ||
法蘭接管尺寸(B) | 383 | 512 | 603 | 862 | 1023 | 1380 | 1800 | 2000 | 2200 | |||||||
法蘭端面距(L) | 150 | 150 | 160 | 180 | 200 | 230 | 290 | 310 | 350 | 400 | 451 | 600 | 650 | 740 | ||
壓力調節范圍Kpa | 15-140 | H | 475 | 520 | 540 | 710 | 780 | 840 | 880 | 915 | 940 | 1000 | ||||
A | 280 | 310 | ||||||||||||||
120-300 | H | 455 | 500 | 520 | 690 | 760 | 800 | 870 | 880 | 900 | 950 | |||||
A | 195 | 230 | ||||||||||||||
280-500 | H | 450 | 490 | 510 | 680 | 750 | 790 | 870 | 860 | 890 | 940 | |||||
A | 176 | 200 | 280 | |||||||||||||
480-1000 | H | 445 | 480 | 670 | 740 | 780 | 860 | 850 | 880 | 930 | ||||||
A | 176 | 200 | 280 | |||||||||||||
重量 (Lg) | 26 | 37 | 42 | 72 | 90 | 114 | 130 | 144 | 180 | 200 | 250 | |||||
導壓管接頭螺紋 | M16X1.5 | |||||||||||||||
注:表中法蘭、法蘭端面距為國家標準,可按用戶指定標準制造,如:ANSI、JIS、DIN等。
1、 自力式調壓閥的安裝
調壓閥應直立安裝在水平管道上,安裝方法如圖4

安裝方式說明
(1) 調節氣體,閥前壓力調節(K型),過濾器(1)可以不安裝
(2) 調節氣體,閥后壓力調節(B型),過濾器(1)可以不安裝
(3) 調節液體,閥前壓力調節(K型),對于非清潔流體,應裝過濾器(1)
(4) 調節液體,閥后壓力調節(B型),對于非清潔流體,應裝過濾器(1)
(5) 調節蒸汽,閥前壓力調節(K型),應裝冷凝器(4),建議裝過濾器(1)
(6) 調節蒸汽,閥后壓力調節(B型),應裝冷凝器(4),建議裝過濾器(1)
安裝注意事項:
(7) 冷凝器必須高于調壓閥的執行機構而低于閥后(閥后調壓閥)或閥前(閥前調壓閥)接管,以保證冷凝器內充滿冷凝液。
(8) 取壓點應取在離調壓閥適當位置,閥前泄壓閥應大于2倍管道直徑,閥后調壓閥應大于6倍管道直徑。
(9) 為便于現場維修操作,調壓閥四周應留有適當空間,前后應設置截止閥與旁路手動閥,如圖5所示。

(10) 調壓閥口徑大于DN100時,應設置固定支架。
(11) 介質流動方向應于閥體上箭頭指向一致,前后管道中心應對準調壓閥兩法蘭中心,避免閥體承受過大的應力。
(12) 閥前應設置過濾器以防止介質中雜質堵塞導壓管。
(13) 調壓閥應安裝在環境溫度不超過-25℃~55℃的場合。
2、自力式調壓閥的使用
在常溫下使用氣體或低粘度液體場合的操作程序;(參見圖6)
(1) 緩慢開啟閥前后截止閥。
(2) 擰松排氣塞或氣接頭7直至氣體或液體從執行機構或導壓管內溢出為止。
(3) 然后重新擰緊排氣塞或氣接頭調壓閥即可工作。所需壓力的大小可通過壓力調節盤的調整而得到,調整時,注意觀察壓力表示值,動作應緩慢,不得使閥桿跟著轉動。
使用蒸汽場合時的操作程序;(參見圖7)
(1) 從冷凝器上擰下注液口螺釘6。
(2) 擰松執行機構排氣塞7。
(3) 使用漏斗通過注液口加水直至從排氣孔流出為止。
(4) 控緊排氣塞7,繼續注水直至溢出注液口。
(5) 擰緊注液口螺釘6。
(6) 緩慢開啟調壓閥前后截止閥1。
(7) 調整壓力調節盤5,并觀察壓力表示值到要求為止。

2、 自力式調壓閥的維修
調壓閥投入運行后,一般維護工作量很小,平時只要觀察閥前、閥后壓力示值是否符合工藝所需值要求即可。另外,觀察填料函與執行機構是否滲漏,若滲漏應擰緊或更換填料及膜片。調壓閥常見故障排除方法(見表)。
表
故 障 現 象 | 產 生 原 因 | 排 除 方 法 |
閥后壓力不穩定隨著 閥前壓力變動而變動 | 1、閥芯被異物卡住 2、閥桿、推桿卡住 3、進液管道堵塞 | 1、重新拆裝排除異物 2、重新調整 3、疏通 |
閥后壓力降不下來, 始終在需求值上方變動 | 1、 設定彈簧剛度太大 2、 閥口徑過大 3、 閥前壓力過高,減壓比過大 | 1、 更換彈簧 2、 更換較小口徑 3、 減壓比大于10,應2級降壓 |
閥后壓力升不上去, 始終在需求值下方變動 | 1、 彈簧剛度太小 2、 口徑過小 3、減壓比過小 | 1、更換彈簧 2、更換較大口徑 3、 減壓比小于1.25, 應提高閥前壓 |
閥前壓力升不上去, 始終在需求值下方動作 | 1、 設定彈簧剛度太小 2、 閥芯被異物卡住 閥桿、推桿卡住 3、 閥芯、閥座損壞,泄漏量過大 4、 閥口徑過大 | 1、 更換彈簧 2、 重新拆裝 3、 重新調整 4、 重新研磨,或更換 5、 更換較小口徑 |
閥前壓力降不下來, 始終在需求值上方動作 | 1、 設定彈簧剛度太大 2、 口徑太小 3、閥芯、閥桿、推桿卡住 | 1、 更換彈簧 2、 更換較大口徑 3、 排除卡堵,重新調整 |
閥后壓或閥前壓 波動過于頻繁 | 1、 閥口徑過大 2、 執行機構膜室容量太小 | 1、 選擇恰當的閥口徑 2、 在進液管道內增設阻尼器 |
型號編制說明
